ABUS propose une solution sécurisée et fiable avec le verrou supplémentaire pour fenêtre FOS550. Alliant solidité et facilité d’installation, ce dispositif garantit une protection optimale de vos portes-fenêtres.
🔍 Cet équipement offre sécurité et tranquillité à votre habitation.
-
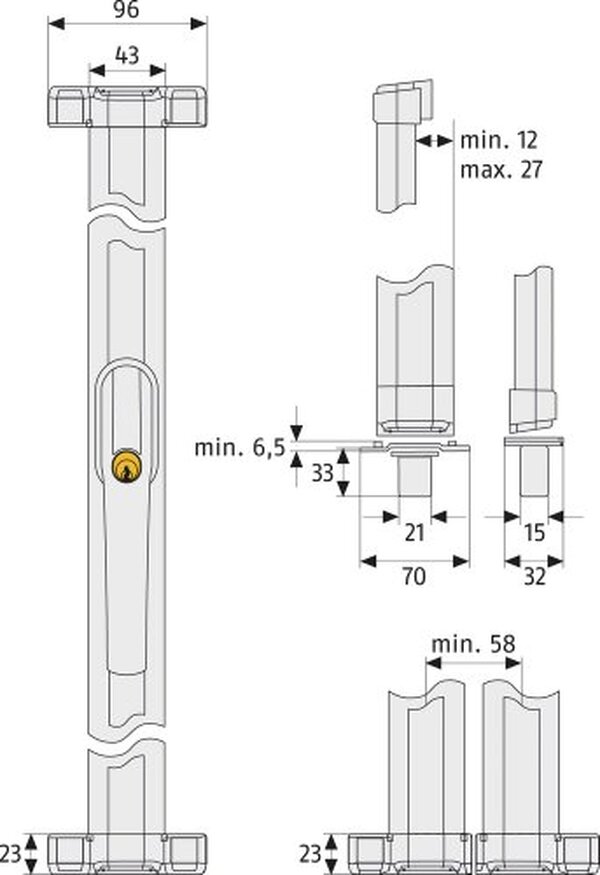
ABUS Verrou Supplémentaire pour Fenêtre FOS550 - Barre de Sécurité Fenêtre avec Cylindre Poussoir, à Verrouillage Différent - Niveau de Sécurité 10 - 11922 - MarronSerrure universelle à barre de fenêtre avec verrouillage en 2 points : Surfaces en plastique, en aluminium et en bois Sécurise toute la hauteur de la fenêtre : Verrou à haute résistance aux charges de pression et aux attaques de levier - Pour portes de balcon et fenêtres à double battant jusqu'à 3,10 m de haut Presser simplement le cylindre dans la poignée pour verrouiller - Fermer la fenêtre verrouille également la barre du verrou - Verrouillage en position horizontale possible Protection anti-effraction des fenêtres pour la sécurité de votre domicile et pour la protection des enfants : Tige carrée de 7 mm, niveau de sécurité 10 IMPORTANT : Les barres de verrouillage correspondantes ne sont pas incluses dans la livraison et doivent être commandées séparément en tant que jeu de barres FOS/FSA et à la longueur adaptée171,79 €
Installation et prise en main : accessible à tous ?
Le verrou FOS550 se distingue par sa simplicité d’installation, facilitée par une notice détaillée. Toutefois, certains utilisateurs ont relevé des ambiguïtés dans les instructions, notamment pour le raccourcissement des tiges. Une fois monté, le système offre une robustesse enviable qui rassure immédiatement.
Qualité et design : une combinaison réussie ?
Ce produit séduit par la qualité supérieure de ses matériaux, aluminium et plastique, assurant longévité et esthétique. La finition peinte marron s’intègre à divers environnements, tout en apportant une touche discrète de sécurité.
Compatibilité et usage : pour quels types de fenêtres ?
Conçu pour s’adapter à des fenêtres standard, ce modèle est idéal pour sécuriser les portes-fenêtres vulnérables, comme les terrasses et balcons. Attention toutefois à choisir la bonne taille, la version « verrouillage différent » étant plus adaptée à ceux qui souhaitent une personnalisation accrue.
Limites et inconvénients : à éviter pour certaines utilisations ?
Bien que la plupart des utilisateurs se déclarent satisfaits, certains ont rencontré des problèmes de livraison ou de pièces manquantes, telles que les guides en plastique pour les barres. Ces incidents peuvent nuire à l’expérience d’installation.
Pour les foyers recherchant une sécurité sans faille, ce produit demeure un atout indéniable.

Bilan du test
Avantages
+ Facilité d’installation
+ Matériaux de qualité
+ Esthétique discrète
Inconvénients
– Notice d’installation ambiguë
– Pièces manquantes signalées
Fiche technique
Note de la rédaction 16/20
Notes des utilisateurs 4.7/5
Note de 4.7 pour 4 utilisateurs
✅ Considérez cette option pour renforcer la protection de vos fenêtres.
-
ABUS Verrou Supplémentaire pour Fenêtre FOS550 - Barre de Sécurité Fenêtre avec Cylindre Poussoir, à Verrouillage Différent - Niveau de Sécurité 10 - 11922 - MarronSerrure universelle à barre de fenêtre avec verrouillage en 2 points : Surfaces en plastique, en aluminium et en bois Sécurise toute la hauteur de la fenêtre : Verrou à haute résistance aux charges de pression et aux attaques de levier - Pour portes de balcon et fenêtres à double battant jusqu'à 3,10 m de haut Presser simplement le cylindre dans la poignée pour verrouiller - Fermer la fenêtre verrouille également la barre du verrou - Verrouillage en position horizontale possible Protection anti-effraction des fenêtres pour la sécurité de votre domicile et pour la protection des enfants : Tige carrée de 7 mm, niveau de sécurité 10 IMPORTANT : Les barres de verrouillage correspondantes ne sont pas incluses dans la livraison et doivent être commandées séparément en tant que jeu de barres FOS/FSA et à la longueur adaptée171,79 €
Mon avis sur ce produit
Avec une évaluation moyenne de 4,7 sur 5, ce verrou ABUS FOS550 est plébiscité pour son efficacité et sa simplicité, malgré quelques défauts de livraison.
💬 Satisfaites vos exigences avec un produit à la hauteur de ses promesses.
-
ABUS Verrou Supplémentaire pour Fenêtre FOS550 - Barre de Sécurité Fenêtre avec Cylindre Poussoir, à Verrouillage Différent - Niveau de Sécurité 10 - 11922 - MarronSerrure universelle à barre de fenêtre avec verrouillage en 2 points : Surfaces en plastique, en aluminium et en bois Sécurise toute la hauteur de la fenêtre : Verrou à haute résistance aux charges de pression et aux attaques de levier - Pour portes de balcon et fenêtres à double battant jusqu'à 3,10 m de haut Presser simplement le cylindre dans la poignée pour verrouiller - Fermer la fenêtre verrouille également la barre du verrou - Verrouillage en position horizontale possible Protection anti-effraction des fenêtres pour la sécurité de votre domicile et pour la protection des enfants : Tige carrée de 7 mm, niveau de sécurité 10 IMPORTANT : Les barres de verrouillage correspondantes ne sont pas incluses dans la livraison et doivent être commandées séparément en tant que jeu de barres FOS/FSA et à la longueur adaptée171,79 €
Découvrez d’autres barres de sécurité
-
vidaXL Barres de Sécurité Réglables pour Fenêtres, 3 Pièces, Argent, 710–1200 mm, Acier, Grille de Protection, Barrière de Sécurité Maison et Bureau, Protection Enfants, Montage FacileEnsemble Complet de Trois Barres de Fenêtre Ajustables pour Sécurité Maison & Bureau Assurez la sécurité de votre maison ou bureau efficacement avec cet ensemble complet de trois barres de fenêtre ajustables. Alliant construction robuste et design élégant, ces barres offrent une protection fiable tout en s’intégrant parfaitement aux intérieurs modernes. 【 Kit d’Installation Complet :】 Chaque paquet comprend trois barres de fenêtre ajustables ainsi que toutes les vis nécessaires, facilitant l’amélioration de la sécurité sans outils ou accessoires supplémentaires. 【 Finition Élégante et Moderne :】 Avec un revêtement argenté stylé, ces barres renforcent vos fenêtres tout en s’harmonisant avec n’importe quel décor, apportant un aspect contemporain soigné. 【 Dimensions Ajustables pour Plus de Flexibilité :】 Réglables de 710 mm à 1200 mm, elles conviennent à la plupart des tailles de fenêtres standard, offrant une solution pratique pour divers besoins de sécurité résidentiels et professionnels. 【 Construction Durable et Longue Durée :】 Fabriquées en acier galvanisé de haute qualité, ces barres offrent résistance et protection contre la corrosion pour une sécurité fiable pendant de nombreuses années.
-
Securite porte d'entrée, Blanc Barre de Securite Porte Entree, Bloque Porte Coulissante, Poignee Porte Entree, Bloque Poignee de Porte, Barre de Sécurité de Porte[barre de sécurité] Si vous craignez que vos portes et fenêtres ne soient pas assez robustes ou que vous ne vous sentiez pas en sécurité lorsque vous voyagez seul, la barre de sécurité Gate Jammer d'acemining vous offre une tranquillité d'esprit totale grâce à un levier facile à utiliser mais unique qui est également facile à installer. [2 - en - 1 porte et porte coulissante] Utilisez nos barres de sécurité réglables pour empêcher les cambrioleurs de pénétrer dans votre maison, votre appartement ou même votre chambre d'hôtel. Les barres de sécurité de seuil peuvent être ajustées de 21 pouces à 46 pouces de longueur et le produit complet ne pèse que 2,2 livres, ce qui le rend facile à transporter lorsque vous voyagez ou lorsque vous le rangez à la maison. [facile à utiliser] les barres de sécurité de support de porte acemining sont très simples à utiliser et ont une structure à trois niveaux pour un déploiement rapide. Cela vous permet de renforcer rapidement vos défenses. Cependant, lors de l'utilisation, il faut veiller à ce qu'il n'y ait pas d'espace entre le pied en caoutchouc et le sol. [conception améliorée multifonctionnelle] le levier de verrouillage adopte une connexion améliorée en alliage à haute résistance pour une durée de vie prolongée. Il dispose également d'un diamètre de tube épaissi de 1,57 pouces, de mises à niveau de matériaux de haute qualité et de pièces en plastique en fibre de verre à haute résistance, ce qui le rend stable et robuste. [service à la clientèle] acemining offre 20 mois de service à la clientèle. Si vous rencontrez des problèmes ou rencontrez des problèmes avec votre serrure de porte coulissante, contactez - nous. Apportez immédiatement une sécurité supplémentaire à la maison de votre proche.
-
THIRARD - Barre de Sécurité pour Volet en Bois - Acier Zingué Noir - 4 Pattes Anti-Crochetage - Boulon à Tête Collet Carré - Verrouillage Par Cadenas - Ø 18 x 410 mm - NoirUsage pratique : Cette barre de sécurité est idéale pour renforcer la protection de vos volets en bois. Elle s'installe facilement à l'intérieur, offrant une sécurité accrue contre les effractions grâce à sa possibilité de verrouillage par cadenas Dimensions précises : avec un diamètre de 18 mm et une longueur de 410 mm, cette barre zinguée noire est conçue pour s'adapter parfaitement à vos volets. Ses 4 pattes anti-crochetage assurent une fixation solide et une sécurité renforcée Sécurité et robustesse : Fabriquée en acier de qualité, cette barre résiste aux tentatives de cambriolage. Le système de fixation par boulons à tête collet carré garantit une protection fiable et durable pour vos volets Installation et fonctionnement : Installez-la facilement sur vos volets grâce aux pattes anti-crochetage. Utilisez-la chaque nuit ou lors d'absences prolongées pour sécuriser vos ouvrants tout en permettant une ventilation sécurisée Garantie de 10 ans : Ce produit bénéficie d’une garantie de 10 ans, gage de sa qualité et de sa durabilité pour une tranquillité d’esprit assurée








